
Model FC - Cable Suspended Float Sensor
- Usable in corrosive liquids
- Mounts in limited overhead space
- Stable in turbulent liquids
- Adjustable switch points
- Reliability/Long switch life
** If purchasing replacement part, just give us the serial number and we will supply the correct part.**
General Description
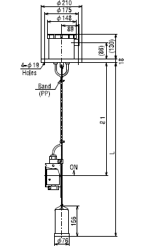
The FC series guard floats are designed for use in applications where the actuation level is too deep for our model FR (Max. 3.9 meter), where overhead space is limited, or where there is surface wave motion. The PVC or Polypropylene float and SCM cable are compatible with a wide range of corrosive liquids. The float is protected from turbulence and motion by a PVC guard. The switch operating levels are easily adjusted by altering the height of the cable fixing point. The switch operations, NO or NC, are easily changed by inverting the float. A number of float units can be used together to give multiple level switch points in one flanged holder. Each float can be easily assembled on site and the switch operating points are adjusted by desired length of cable.
Operational Description
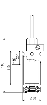
The FC consists of a float on a stem with a reed switch inside the stem. As the float rises or falls with the level of the liquid, the reed switch is activated by a permanent magnet in the float.
Technical Notes
To avoid personal injury and protect the switch for electrical surges, connect the float to our relay unit Model RE7000 or similar devices.
Click on the buttons for full Nohken Specification catalog Sheet and User Manual
Catalog User ManualModel | FC-5 | FC-6 | FC-55/FC-66 |
---|---|---|---|
Operating Temperature * | -10 to 50 ℃ | ||
Maximum Pressure | 200kPa | ||
Minimum SG | 0.7 | 0.95 | |
Cable Length | 6 meter (Max. 20 meter) | ||
Life Expectancy | 1 x 106 Operations | ||
Cable Material | ⌀ 8.1 SCM | ||
Body Material | PVC | ||
Float Material | PVC | PP | |
Housing Material | ABS | ||
Flange Material | PVC | ||
Weight Material | 3kg, PVC (build in steel) | ||
Rope Material | PE | ||
Mounting | JIS10K100A (4 holes) | ||
Cable Entry | G3/4 | ||
Protection | IP45 * | ||
Maximum Detection Points | 6 |
* IP65 is optionally available.
Contact Rating
Max Capacity AC | 15VA |
---|---|
Max Capacity DC | 15W |
Max Current AC | 1A |
Max Current DC | 1A |
Max Voltage AC | 264V |
Max Voltage DC | 200V |
Minimum Setting Point
Min. ℓ 1 | Min ℓ ∽ ℓ | Min.L ∽ ℓ n | |||
---|---|---|---|---|---|
↑ ON, OFF | ↓ ON, OFF | ↑ ON, OFF | ↓ ON, OFF | ||
FC55, FC66 | 200mm | 200mm | 200mm | 300mm | 300mm |
Technical drawings of Nohken Model FT Cable Suspended Float Sensors.



For ordering replacement part, please supply full serial number
** If purchasing replacement part, just give us the serial number and we will supply the correct part.**