
Model MT10 - Electrical Conductivity Level Sensor
- Stable operation with build up of scum and slurry
- High durability
- Easy operation of relay unit
- Easy maintenance
** If purchasing replacement part, just give us the serial number and we will supply the correct part.**
General Description
Model MT system is a conductance actuated control system utilizing the electrical conductivity of the liquid to carry a small current which when sensed, activates the appropriate controls. The multi-points probe has the capability to control several pumps and alarms, as well as indication of levels, using discrete set points.
Operational Description
When AC power is applied to a pair of isolated electrodes, without liquid between them, no current is delivered. When there is liquid, it becomes a part of electrical circuit and a current is delivered. When liquid contacts the electrode, MT directly detects the resistance and compares it with the value set in the relay unit to determine the liquid presence, then sends signals to amplifier, causing the relay to give output signals.

Applications
Model MT system can be used in any suitable conductive liquids. Applications involve both alarm point detection and pump valve control. Since MT system contain no moving parts, it is very reliable and can be used in tanks where mixers or other moving equipment would damage ordinary float sensor or other level detectors.
MT system is very reliable to use in Waste water, Sewage water, Fresh water, and Conductive liquids. Manhole pump control is one of biggest application for MT system.
Click on the buttons for full Nohken Specification catalog Sheet and User Manual
Catalog User ManualModel | MT10/1 | MT10/3 | MT10/Z |
---|---|---|---|
Number of Detection points | 1 | 3 | 6 |
Operating Temperature | 0 to 80 ℃ | ||
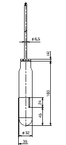
Cable Material | ⌀ 6.5 PVC | ⌀ 8.1 PVC | ⌀ 6.5 PVC |
Body Material | PE | PE/PVC | PE |
Electrode Material | 316SS |
RE9000
Model | RE9000 |
---|---|
Supply Power | 100 to 240V AC, 50/60Hz or 24V DC |
Power Consumption | Approx. 7VA Max. for 240V AC, 7W Max. for 24V DC |
Relay Contact | 240V 5A AC (resistive) |
Detection Sensitivity | 1kΩ, 4kΩ, 20kΩ, 80kΩ |
Operating Temperature | -10 to 60 ℃ |
Indication | Green LED for power states, , Yellow LED for relay 1 states, Red LED for relay 2 states |
Separation Distance | 500m Max. |
Separation Distance | 35mm DIN rail or 2 x M3 screw |
Technical drawings of Nohken Model MT10 Electrical Conductivity Level Sensors.



For ordering replacement part, please supply full serial number
** If purchasing replacement part, just give us the serial number and we will supply the correct part.**