** If purchasing replacement part, just give us the serial number and we will supply the correct part.**
General Description
The R7 series of miniature rotating paddle sensors are designed for use with plastic molding or injection machines and extruders. It can also be designed into equipment such as grain processing machines and granulating equipment. These products are the most compact units of their type and are deigned to provide reliable services. There are two standard versions of the R7, the R7-X series for indoor use, and the R7-Z for outdoor use. The R7-XLJZL is a custom made long shaft version up to 1000mm. The R7-XT is designed to resist
temperatures up to 120℃.
Conformity
CE marking for R7-Z standard type
Operational Description
When the power is applied to an R7 sensor, a motor powers a revolving shaft to which a paddle is mounted. When the material level inside the container reaches the revolving paddle, the paddle rotation is halted then the motor itself starts rotating around the shaft and activates an isolated SPDT micro switch. This removes power from the motor so that it stops rotating and an alarm signal is provided. When the material level falls below the paddle, the motor resets and the micro switch restores the revolving action.
Technical Note
Detection torque can be easily adjusted on site by changing the spring position. The R7 has four torque setting (see chart below). The standard setting is "B". Adjust to "A", if there is a slight vibration on the hopper. Adjust to "C" or "D", if the load is small.
A
B
C
D (N-cm)
R7-X
6.2
5.5
4.6
3.8
R7-Z
5.0
3.8
3.09
2.6
Click on the buttons for full Nohken Specification catalog Sheet and User Manual
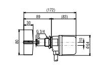
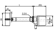
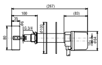
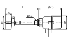
Technical drawings of Nohken Model R7 Roatating Paddle Sensors.
Diagram of Model R7-Z
Diagram of Model R&-ZL
Diagram of Model R7-X
Diagram of Model R7-XL
Diagram of Model R7-XT
For ordering replacement part, please supply full serial number
The serial number of the R7 Rotating paddle is specific to the option. If ordering a replacement part, please supply us with the full serial number to ensure we can provide an exact replacement part.